A Valve design patent filing may reveal its rumored ‘Deckard’ headset.
Valve Index, the company’s $999 tethered PC VR kit, has now been on the market for almost three years. It still has best-in-class tracking and audio quality but its 1600×1440 resolution has been surpassed on both the low end with Quest 2 and the high end with headsets like HTC’s Vive Pro 2 and Varjo Aero.
Evidence of a new headset codenamed Deckard was discovered in September by YouTuber Brad Lynch (SadlyItsBradley) in a SteamVR driver. Deckard is the surname of Blade Runner’s protagonist and likely a reference to Steam Deck. Last year, when asked directly by The Verge whether Steam Deck’s chip could be used in a standalone VR headset, Valve product designer Greg Coomer said it would “run well in that environment” and “it’s very relevant to us and our future plans”. In February, Valve president Gabe Newell described Steam Deck as a “stepping stone” to high performance standalone VR, but noted “we’re not really there yet”.
Ars Technica said its sources confirmed Valve had at least two VR headset concepts in the works which diverged over time, with one requiring a PC and tracking base stations but the other operating standalone with onboard compute like Quest.
The evidence from Lynch suggested Deckard is the standalone headset. He found a “Standalone System Layer” option in the hidden ‘Valve Internal’ menu tab of SteamVR, as well as a Linux-only binary referencing Deckard which he says tells the device to boot to a default application. Valve’s distro of Linux is called SteamOS – it’s what Steam Deck runs.
Lynch also noted that a driver called VRLink was added to SteamVR with code referencing a Wi-Fi 6 driver, and this update actually temporarily broke some HTC Vive wireless setups. These findings suggest Deckard will have PC VR streaming functionality similar to Quest’s Air Link and Virtual Desktop. A new finding from Lynch this week suggests SteamVR will make it easy for PCs with Wi-Fi to create a hotspot directly to the headset – something Meta seems to plan to do with a USB dongle.
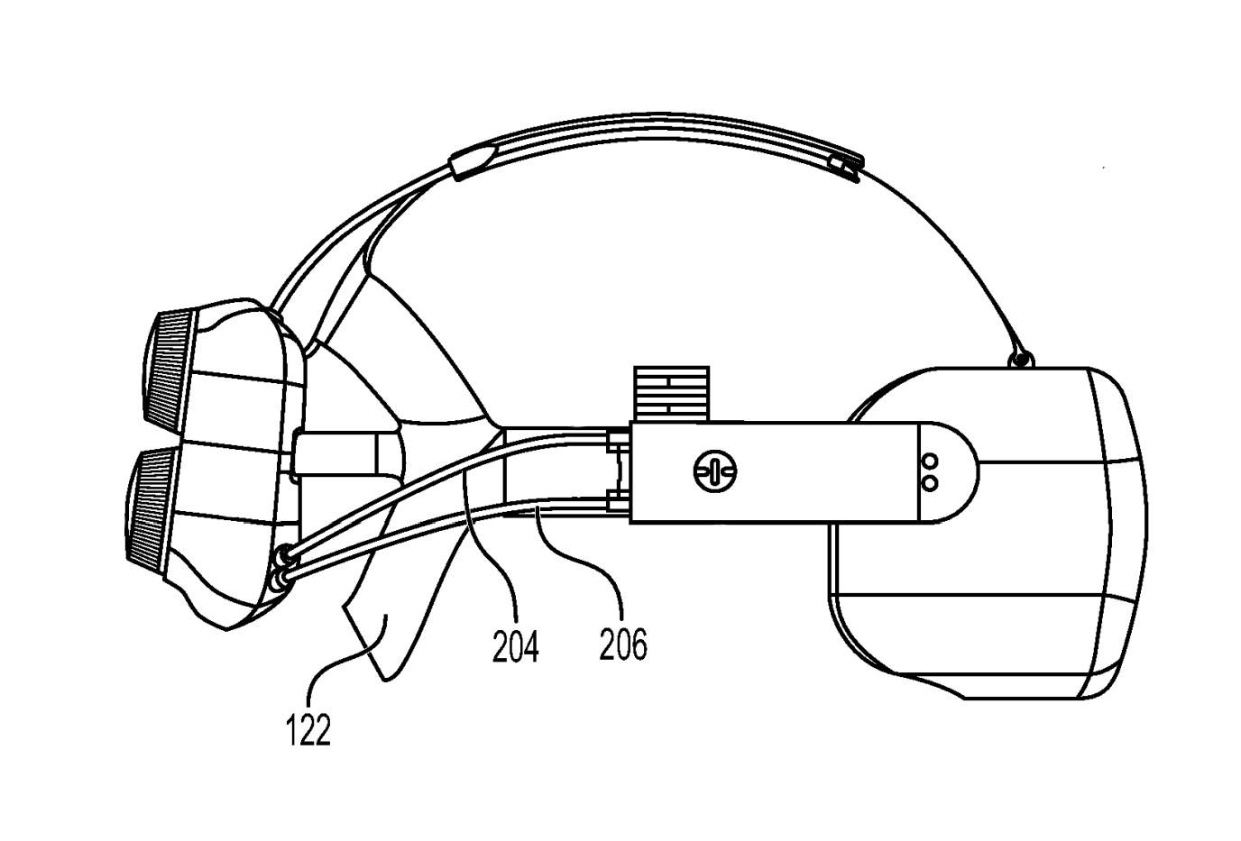
Today, a Valve design patent application filed in December titled ‘Head Mounted Display’ was made public by the US Patent & Trademark Office. It depicts a wireless headset with a different design to Index, but with a similar off-ear speaker setup and rear strap adjustment knob.
It’s notable that the front of the headset lacks any kind of detail. It doesn’t show the cameras or photodiodes that would be expected for positional tracking. That’s because this design patent filing actually seems to be focused on the strap system of the headset and its ability to be adjusted for various face and head shapes – the patent isn’t about the headset’s technical design.
Despite that focus, there are hints in the patent text that the depiction may be standalone: “The harness may couple to a rear housing disposed at the back of the HMD. The rear housing may accommodate various computing components of the HMD.” There’s also a line that backs up Lynch’s findings about wireless PC functionality: “In some instances, the images may be output by an application or computing device communicatively coupled to the HMD.”
Ars Technica’s September article noted that Valve had begun dedicating its manufacturing lines to the Steam Deck portable console, so doubted the company had the capacity to also ship a new standalone VR headset at scale in the near term given the ongoing global chip shortage. But nine months later Steam Deck has now shipped. Could Valve be getting closer to a reveal for its next hardware?



